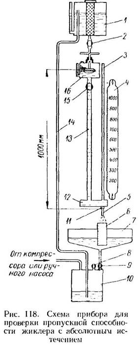
Для контроля уровня воды в верхнем баке имеется водомерная указательная трубка. Вода из верхнего бака попадает в поплавковую камеру 16 и далее по трубе 13 идет в резервуар 12, на котором посредством переходника 11 смонтирован проверяемый жиклер 5. От резервуара отходит указательная трубка 3 со шкалой 4. по
которой можно определить высоту водяного столба над проверяемым жиклером. Поплавковая камера рассчитана таким образом, чтобы высота водяного столба составляла 1000 мм. Вода, вытекающая из жиклера, попадает на лоток 7 и стекает в нижний бак 10.Для замера пропускной способности жиклера надо подставить мензурку 6 под струю и ровно через минуту отнять ее, В случае, если пропускная способность жиклера незначительная, а цена деления мензурки большая, то время опыта можно увеличить до 2 и более минут.
Замер пропускной способности жиклера с абсолютным замером является наиболее точным и правильным. Если прибора, описанного выше, нет в автохозяйстве, то его нетрудно изготовить собственными силами. Для этого необходим резервуар с горлышком или бутылка, резиновая пробка с трубкой внутри, открытая банка с отверстиями в нижней части и штуцером, трубочка диаметром 10—12 мм и краник.Схема такого прибора указана на рис. 119. Резервуар 1 с горлышком, закрытым резиновой пробкой 2, и трубочкой 3 заправляется водой и помещается вертикально вниз горлышком.
Нижний конец трубочки помещается в открытый сосуд 4, в котором имеется вода. Ввиду того что конец трубочки окажется погруженным в воду, вода не вытечет из верхнего резервуара.В нижней части открытого сосуда 4 имеется трубочка 5 с краником 6. На противоположный конец трубки монтируется приспособление 7 для крепления испытуемого жиклера 8. Внизу ставится мензурка 9. Длина трубочки подбирается таким образом, чтобы расстояние от плоскости жиклера до нижнего среза трубочки в верхнем резервуаре было 1000 мм.
Для включения прибора необходимо открыть кран, проверить правильность струи, вытекающей из жиклера, подождать, пока установится уровень воды в открытом сосуде, после чего можно начинать замер.
Все детали прибора прочно укрепляются на одной вертикальной доске. Верхний резервуар укрепляется таким образом, чтобы его можно было легко снять и заправить водой.
При работе на таком приборе сохраняются все правила проверки пропускной способности жиклеров, оговоренные выше.Существуют приборы для проверки пропускной способности жиклеров, при пользовании которыми нет необходимости иметь ни секундомера, ни мерной мензурки. Наиболее распространенным является прибор конструкции НИИАТа . В отличие от описанных выше приборов проверка пропускной способности жиклеров происходит пол напором 600 мм вод. с т., а время опыта составляет 45 сек. Однако шкала прибора отградуирована в см3/мин для напора 1000 мм вод. ст. Прибор состоит из трех основных частей: водяных часов, напорного и мерного цилиндров. Сверху и снизу напорного цилиндра имеются краны, соединенные тягой, которые открываются одновременно. Верхний кран имеет регулировочный винт, посредством которого можно регулировать время вытекания воды из колбы водяных часов. В верхней части напорной колбы имеется трубочка, соединенная с мерной колбой.
В нижней части напорного цилиндра устанавливаются специальные пробки с проверяемыми жиклерами. В колбе водяных часов имеется сливная трубочка постоянного уровня. Для проверки жиклеров водяные часы заполняют водой до уровня и включают краны напорного цилиндра. Вода из водяных часов поступает в напорный цилиндр, заполняет его, а излишки воды вытекают в мерный цилиндр.Чем больше пропускная способность жиклера, тем меньше воды будет в мерном цилиндре, и наоборот. Как уже указывалось выше, шкала мерного цилиндра отградуирована в см3/мин для напора 1000 мм вод. с т. Правильность показания прибора периодически проверяют эталонными жиклерами.
Существует еще один способ проверки пропускной способности жиклеров с относительным измерением. Этот прибор также не требует измерительной аппаратуры и применяется при массовой проверке жиклеров-
На рис. 120 показан двойной прибор, рассчитанный на проверку жиклеров, значительно отличающихся по пропускной способности между собой. Обе половины прибора различаются пропускной способностью калиброванных жиклеров, установленных внутри прибора.
Доводка жиклеров по заданной пропускной способности обычно осуществляется мерными сверлами. В ряде случаев для доводки жиклеров пользуются коническими развертками. Угол конуса развертки очень незначительный и это позволяет получить калиброванную часть жиклера практически цилиндрической формы по всей длине калиброванной части. Кроме того, применение развертки позволяет получить довольно чистую и гладкую поверхность калиброванной части.На рис. 121 дан чертеж развертки, а в табл. 9 даны основные размеры разверток, рекомендуемых для доводки жиклеров.

